Canon lenses have been great every step of the way. The company has introduced models such as the 85mm f1.4L, the 28-70mm f2.8, and the 100-400mm f5.6, which have offered a great range to different genres of photographers. However, per the new patent, the company is keen to work on more wide-angle options, which could be ideal for hybrid shooters. Here is a look at what to expect.
Canon’s Patent Goes Wide
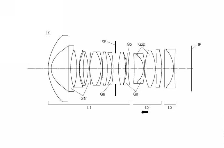
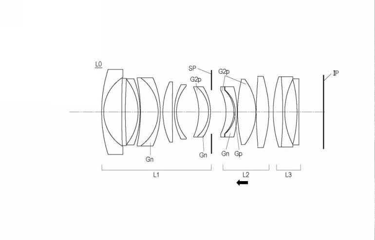
According to Asobinet, the company has introduced patent P2026003292, which showcases its commitment to wide-angle primes. The patent showcases multiple designs and features that focus on much closer distances while remaining relatively compact. The designs include focal ranges such as 14mm f1.4, 20mm f1.8 IS, and 24mm f1.4.
Example 1

- Focal length: 14.42
- F-number: 1.46
- Half angle of view: 52.34
- Image height: 18.68
- Total length: 118.50
- Back focus: 14.00
Example 2

- Focal length: 20.60
- F-number: 1.46
- Half angle of view: 42.54
- Image height: 18.90
- Total length: 117.50
- Back focus: 18.44
Example 3

- Focal length: 20.60
- F-number: 1.85
- Half angle of view: 42.64
- Image height: 18.97
- Total length: 98.50
- Back focus: 17.25
Example 4

- Focal length: 24.00
- F-number: 1.50
- Half angle of view: 38.29
- Image height: 18.95
- Total length: 113.00
- Back focus: 12.50
The filing showcases minimal focusing distance, but it features a large focusing group while focusing. The designs also include VCM focusing, a new technology that enables smoother, quieter, and more precise focus. The latter is ideal for video use, making the wide-angle lenses great for hybrid use. Canon does not offer a wider focal range than the 20mm f1.4 VCM, making the 14mm a great concept.
Why This Matters for Photographers
Sigma has a 14mm f1.4 lens, which is a great offering. It costs below $2500. However, while the lens is great, the challenge is the autofocus, which is slower. The images are slightly soft, and it is a huge lens. If Canon does decide to launch one, then the biggest drawback of the autofocus will be sorted out. Furthermore, if it is an L-series lens, then they will certainly refine the image quality, alongside the zoom.
A 14mm lens may not seem ideal at first glance, but it is great for genres such as astrophotography, environmental photography, and events. However, if the company launches a non-L series lens, that would help those looking for cheaper options, ones that are more affordable than the ones Sigma is currently offering.
Ultimately, a patent doesn’t guarantee that it will result in a commercial product. However, the fact that the company is working on launching ultra-fast wides suggests that this is more than mere experimentation. If Canon introduces a 14mm f1.4, it could be one of the most exciting offerings in its mirrorless lineup.
