Last year, Cosina’s Voigtlander launched a new lens that helps control bokeh in pictures. The company has since been trying to introduce options that offer something for everyone, including APS-C lenses. It now appears that Cosina is working on a new patent that could help photographers achieve extra bokeh. Here is a look at what the patent offers and what it could mean.
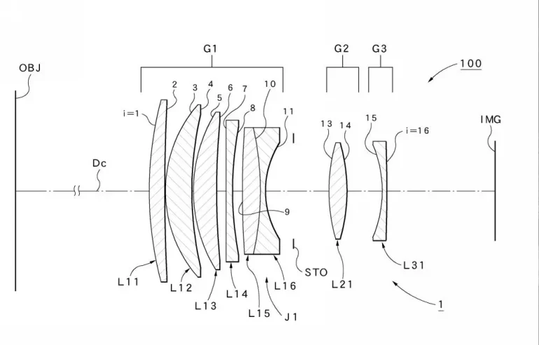
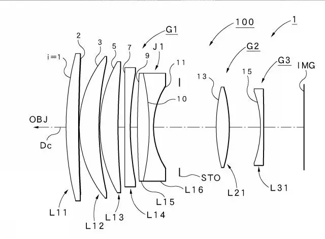
According to Asobinet, the company has published a new patent, P2026008235, which showcases the designs of three different lenses: 90mm f2, 100mm f2, and 35mm f2 lenses. Of them, one design looks similar to the APO-ULTRON 90mm f2 VM.
Example 1

- Focal length: 87.28
- F-number: 2.05
- Half angle of view: 13.71
- Image height:
- Total length: 60.38
- Back focus: 27.40
Example 2

- Focal length: 97.41
- F-number: 2.06
- Half angle of view: 12.34
- Image height:
- Total length: 67.85
- Back focus: 29.99
Example 3

- Focal length: 36.08
- F-number: 2.01
- Half angle of view: 21.28
- Image height:
- Total length: 37.88
- Back focus: 12.49
The patent appears to be solving persistent challenges faced in fast, compact lenses. For instance, axial chromatic aberration, spherical aberration, coma, and overall resolution. Per the report, Cosina aims to reduce these challenges without introducing increased coma or an unfavorable Petzval look.
The 90mm patent design showcases a refined or re-engineered lens rather than introducing a new one. At the same time, Cosina does not offer a 100mm f2 lens under the Voigtlander brand, which means this lens will sit between classics such as 90mm and 105mm, which offer a precise balance of compression and working distance. The last one is interesting, but there are already multiple options out there. So, it can also mean this one will feature more refinement.
In that regard, the 100mm f2 can be in the Ultron and APO-Lanthar series, and would be a natural extension of this strategy. This offers portrait photographers a longer focal length with classic rendering, excellent color correction, and compact dimensions.
The last 100mm lens made by Cosina we tested was licensed under the Zeiss brand name — the Zeiss 100mm f2 Milvus lens. Unlike the Zeiss 135mm f2 APO, it is not an apochromatic design.
How It Compares to Third-Party Options
When one looks at the longer focal length, Zeiss offers a 100mm f2 option — but not in a mirrorless mount. Canon also offers an 85mm f1.2L, and Sony has a 90mm f2.8 Macro. Sigma, too, offers a 105mm f1.4. As we said about the Sigma lens, “The image quality is outstanding. It’s highly capable here, but performance-wise, it’s a very traditional lens. You need a flash or off-camera lighting with it. And you also will do a great job with it, using it as a portrait lens.” The Zeiss is not yet available, and Sigma’s offering is cheap at just $800. So, unless Cosina is launching an offering under that price, it will certainly be helpful. Otherwise, one can always opt for a much wider aperture.
Overall, the patent is quite interesting and offers an option for anyone who wants something beyond 70-200mm, such as portrait, fine-art, and documentary photographers. Moreover, it has a chance to be a perfect kit offering anyone who needs a low-budget offering, without much of a challenge.
