With the mirrorless range, Canon now has 50 different lenses in its portfolio. While their EF lenses have paved the way for the optics we use today, there is still plenty that Canon has yet to explore. For starters, it needs to make its telephoto lenses more compact and lightweight, which Tamron has been able to nail over the years. The company is serious about getting things right for its newer system, and its latest patent showcases what exactly it is working with. Here is a look at the three new lenses, which photographers will certainly enjoy.
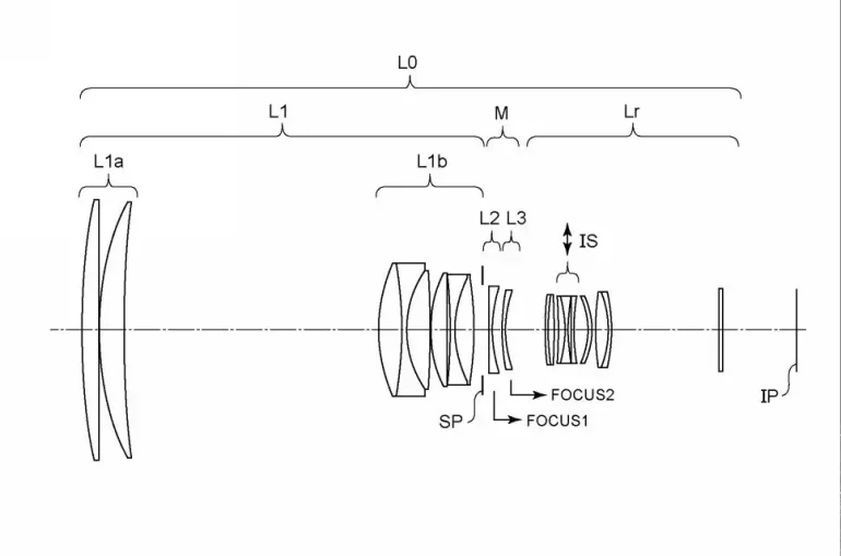
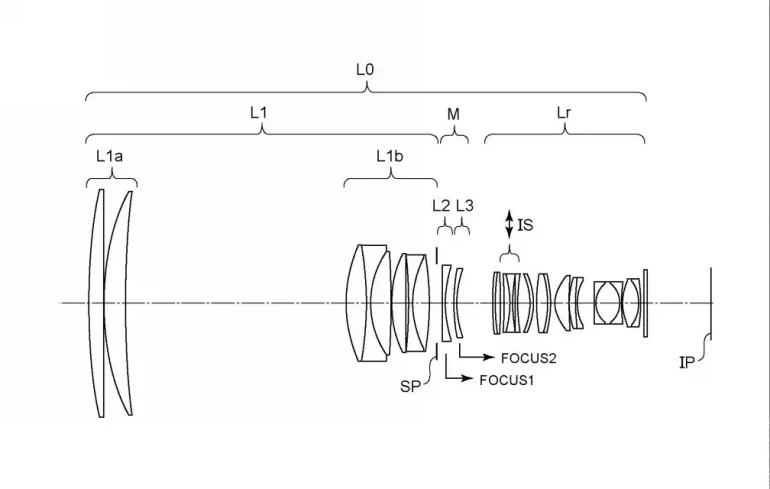
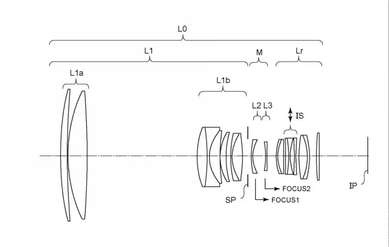
According to Asobinet, Canon has released a new patent, number P2025114982, which showcases the next generation of super telephoto lenses from the company: 300mm f2.8 IS, 400mm f2.8 IS, and 500mm f4 IS. Per the report, the new optical system features a floating focus design that delivers improved optical performance while keeping the form of the lens smaller. The company notes that this is relevant for longer focal ranges, and the lenses could be successors to the existing RF lenses. Here is a look at them:
Example 1

- Focal length: 387.98
- F-number: 2.91
- Half angle of view: 3.19
- Image height: 21.64
- Total length: 372.01
- Back focus: 38.28
Example 2

- Focal length: 543.19
- F-number: 4.12
- Half angle of view: 2.28
- Image height: 21.64
- Total length: 372.05
- Back focus: 38.30
Example 3

- Focal length: 289.77
- F-number: 2.91
- Half angle of view: 4.27
- Image height: 21.64
- Total length: 240.23
- Back focal length: 37.97
According to the report, this system is unique in its floating focus mechanism, which uses the movement of two lens groups while focusing. This dual-group focusing will also reduce aberration fluctuations, which are common when you move the focus between your shots. There is also the spacing of internal elements, which can further reduce the size and weight of the lenses.
Canon does not have a 300mm prime, but instead, they have the 100-300mm f2.8L. While the lens is innovative, the biggest challenge was the focus and the $10,000 price tag. In that regard, a dedicated 300mm lens that costs under $2000 will be a huge welcome for many wildlife and sports photographers. There is also the 400mm f2.8, which is expensive—about $13,000—and weighs a lot. In that regard, a new, lighter, affordable prime lens could be a boon for photographers. Canon also already has a fantastic 100-500mm f4.5-7 lens, so in that regard, a dedicated 500mm f4 could be useful for those who want a brighter aperture but at an affordable rate.
The patent does not reveal whether they are L-series lenses. If so, they can be expected to be expensive. However, with patents, you never know whether they get through or are shelved later during the research. Either way, it is exciting to see that Canon is working to help users who want telephoto lenses. This could be a boon for full-frame photographers using newer sensors and higher megapixels. However, there are third-party lens makers like Tamron, who have created some magnificent lenses for wildlife photographers. They are not just affordable but also work well with Nikon cameras. So, Canon will also have to have such options for not just professionals but also serious enthusiasts who want a bang for their buck. We have to wait and see if the company goes through this patent soon.
